服务热线
180-5003-0233

专利名称:碳带分条机的制作方法
技术领域:
本明涉及一种分条机,特别涉及一种碳带分条机,用于超薄型碳带的分切。
背景技术:
在超薄型碳带分切过程中,皱折的产生对产品的质量产生重要影响,现有的超薄 型碳带分条机,它包括原料组机构、引导膜机构、分切刀机构、收巻组机构、传动消音机构 和废料收巻机构,原料组机构由原料管、原料架和固定搭扣组成。这种分条机缺少有效控制 碳带分切时所需张力,碳带运行中容易产生皱折,同时不能能针对不同香蕉视频无限看的厚薄及时调 整原料的位置,使得皱折大量产生。
实用新型内容本实用新型的目的是为了解决上述现有技术的不足,而提供能有效控制碳带分切 时所需张力,减少碳带运行中的皱折,灵活操控产品的松紧,同时能针对不同香蕉视频无限看的厚薄及 时调整原料的位置,达到减少皱折产生目的的碳带分条机。 本实用新型的目的是通过如下技术方案来实现的碳带分条机,它包括原料组 机构、引导膜机构、分切刀机构、收巻组机构、传动消音机构和废料收巻机构,原料组机构包 括原料轴、左墙板、右墙板和固定搭扣,其特征在于原料组机构还包括一个固定在墙板上并 与原料轴相连的磁粉离合器装置,及固定在另一墙板上并与原料轴相连的微调机构。 所述微调机构由一个可前后微调的滑块装置及一个可左右微调的螺杆装置组成。 所述引导膜机构由十六条高平整度铝轮构成,所有这些滚轮能最大限度的控制皱 折的产生。使产品的表面平整,端面光洁。 所述收巻组机构由顶尖装置,收盘装置,两个磁粉离合器装置组成,顶尖装置能有
效控制直径8mm 直径25mm巻取轴在收巻时所引起的震动使产品表面平整,端面光洁;收巻盘装置有微型气缸定位装置,能减轻收巻时巻取轴转动时产生的震动,支撑轴一端装有电磁定位盘,使收巻盘换轴时,转动角度非常精准,同时收巻盘上有巻取轴互换装置。实现了机器在不停机的情况下可以互换巻取轴的目的,两个磁粉离合器分别控制上、下两个收
巻盘上的两组巻取轴,可任意调整巻取轴的转速,有效控制产品的松紧度和平整度。 所述废料收巻机构由两个磁粉离合器组成,分别控制左右两条废料收巻轴,使废料收巻平整,不易断带。 本实用新型由于采用了上述结构,磁粉离合器能有效控制碳带分切时所需张力, 减少碳带运行中的皱折,灵活操控产品的松紧,微调机构能针对不同香蕉视频无限看的厚薄及时调整 原料的位置,达到减少皱折产生的目的。
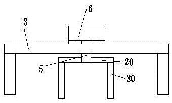
图1是本实用新型结构图示意图; 图2是原料组机构结构图示意图。[0012] 具体实施案例
以下结合附图对本实用新型作进一步说明 在图1和图2中,碳带分条机,它包括原料组机构1、引导膜机构2、分切刀机构3、 收巻组机构5、传动消音机构6和废料收巻机构7,原料组机构1包括原料轴8、左墙板9、右 墙板10和固定搭扣11,一个固定在左墙板9上并与原料轴相连的磁粉离合器装置12,及固 定在右墙板上并与原料轴相连的微调机构13,所述微调机构13由一个可前后微调的滑块 装置14及一个可左右微调的螺杆装置组成15,所述引导膜机构由十六条高平整度铝轮16 构成, 所述收巻组机构由收盘装置24,两个磁粉离合器装置25组成,收巻盘装置有微型 气缸定位装置26。 以上是本实用新型一具体实施例,然而本领域的普通技术人员仍可作出不脱离本 实用新型的方案仍落入本实用新型的保护范围。
权利要求碳带分条机,它包括原料组机构、引导膜机构、分切刀机构、收卷组机构、传动消音机构和废料收卷机构,原料组机构包括原料轴、左墙板、右墙板和固定搭扣,其特征在于原料组机构还包括一个固定在墙板上并与原料轴相连的磁粉离合器装置,及固定在另一墙板上并与原料轴相连的微调机构。
2. 如权利要求1所述的碳带分条机,其特征在于所述微调机构由一个可前后微调的滑 块装置及一个可左右微调的螺杆装置组成。
专利摘要本实用新型供一种碳带分条机,它包括原料组机构、引导膜机构、分切刀机构、收卷组机构、传动消音机构和废料收卷机构,原料组机构包括原料轴、左墙板、右墙板和固定搭扣,其特征在于原料组机构还包括一个固定在墙板上并与原料轴相连的磁粉离合器装置,及固定在另一墙板上并与原料轴相连的微调机构。本实用新型由于采用了上述结构,磁粉离合器能有效控制碳带分切时所需张力,减少碳带运行中的皱折,灵活操控产品的松紧,微调机构能针对不同香蕉视频无限看的厚薄及时调整原料的位置,达到减少皱折产生的目的。
文档编号B26D1/00GK201446546SQ20092006090
公开日2010年5月5日 申请日期2009年7月21日 优先权日2009年7月21日
发明者罗永辉 申请人:罗永辉